苹果AirPods 2传闻汇总和我们希望看到的新特性
2018-04-24 21:30:42 来源:网络整理 作者:王振洲
[摘要]苹果想要让自己的AirPods继续保持领先的地位,就不得不继续提高产品的水准。除了要拥有无线连接和提升整体音频质量之外,还需要提升Siri的能力以及提高对健康追踪的能力。
腾讯数码讯(米可)在前年发布的iPhone 7和iPhone 7 Plus上,苹果除了取消了3.5mm耳机接口之外,还发布名为AirPods的无线智能耳机。这么做不仅在手机和耳机之间移除了线缆,同时也推动了无线耳机市场的大发展。
无线耳机并不是苹果发明的,但是苹果通常最擅长的事情,就是将别人已经做到的事发扬光大。而苹果进军无线耳机行业之后,也大举促进了其它品牌纷纷推出自己的无线耳机产品。
现在,这一细分市场变得越来越拥挤,而如果想要让自己的AirPods继续保持领先的地位,就不得不继续提高产品的水准。除了要拥有无线连接和提升整体音频质量之外,还需要提升Siri的能力以及提高对健康追踪的能力。
如果你也对苹果的下一代无线耳机很期待,不妨来和我们一起看看迄今为止我们知道关于AirPods 2的消息和传闻汇总以及我们想要看到的一切。
健康追踪
在去年7月,苹果提交了一项关于生物识别传感器的专利,从专利看,无线耳机可以变成健身追踪器,到时AirPods将会内置生物识别传感器。虽然在耳机中安装生物识别传感器不是什么新鲜事,比如Jabra Elite Sport已经这样做了,不过看到苹果接受该技术还是值得表扬的。
从专利资料来看,传感器不只是监测心率那么简单。苹果似乎想为设备安装EKG(心电图)传感器,它可以监控心脏电活动,苹果想为设备安装阻抗心电图传感器及其它传感器。
阻抗心电图技术可以感知胸腔的导电率,对身体的循环系统进行评估,包括心博量(也就是心脏每搏一次挤压出去的血液总量)、心率、心输出量。
为什么这些技术如此重要?因为它们可以精准评估心脏是否健康,告诉你锻炼时身体使用了多少氧,知道你有多健康。现在大多的健身追踪器只能记录心率,相比而言这些技术先进很多。
不只如此,专利还提到了皮肤电反应传感器,它可以测量皮肤的电阻,判断穿戴者的情绪压力等级。这种技术一般用在测谎仪上,不过苹果只是用它来监控情绪状态,你不必太担心。
专利还有一个引人注意的地方:“在某些具体情况下,耳机的外壳是对称的,也就是说用户在穿戴时可以左右互换。”
更好的环境声音处理
而同样是在7月,苹果还有另外一项专利,显示苹果正在开发一种超酷的新技术,该专利描述了一种先进的入耳式耳机设备,该设备可以通过传感器来调节环境噪音的大小。
这项专利的名称为“入耳式混音音频透明度系统”,是一种噪音消除和管理解决方法,它允许用户选择性地淹没和听取来自环境周围的声音。为了解决嗡鸣声和大功率问题,苹果公司就提出了混合透明度系统,它将入耳式耳机的最佳元件“漏”出来或部分未密封的设备与机载计算机逻辑结合起来。用户需要打开一个类似于排气口的声通阀,从而大大地抵消闭塞效应。
当用户正在听音乐时,可以关闭阀门,从而将音频内容与外部噪声隔离开来;而需要听到外部声音的时候,只需要打开阀门即可。
蓝牙接收器
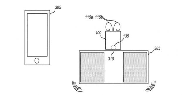
几天之前,苹果又有一项新专利通过申请,该专利名为“具有无线发射器的无线耳机便携盒”。从专利文件中可以了解到,苹果将会赋予AirPods和收纳盒更多功能,使得这两件小东西的使用场景更加广泛。
根据专利来看,苹果计划让AirPods的收纳盒也具备无线接收功能。当把收纳盒和有线音箱产品(不具备蓝牙接收功能)通过Lightning接口连接,再把AirPods放入到其中,就能够使得有线音箱具备无线接收功能。其中,AirPods相当于蓝牙接收器中间介质。同时,还能对AirPods进行充电。
此外把收纳盒插到有线音箱中时,也能够通过AirPods收听音频内容。盒子和耳机之间能够进行无线传输。比如说,我们想通过AirPods收听CD机上的音乐时,就能够把盒子插到CD机的相关接口上,然后就能通过AirPods听了。
降噪
就在几年前,很多公司的主要目标还都是开发一款能够实现真正无线耳机的产品,而现在大家的目标都变成了在无线耳机中加入越来越多的功能。
比如索尼WF-1000X就在小小的身躯里内置了智能降噪技术,而我们也希望类似的功能能够出现在AirPods的身体里。
上面提到的高级环境噪音处理技术,就说明了苹果已经开始考虑这项技术,但我们还是希望苹果能够加快脚步,尽快整合这项非常受欢迎的功能。
物理控制













闽公网安备 35020302000061号