苹果又来Macbook新专利 触屏键盘成亮点
2018-03-20 07:31:36 来源:网络整理 作者:冬梅
腾讯数码讯(chares)作为数码市场上的当红产品,苹果的MacBook一直都备受青睐,其新颖的研发设计往往能够抓住用户的心,快速占据市场份额,而据苹果最近提交的一项新专利,其新款MacBook系列产品将会再次迎来大革新,其中一点就是关于键盘的触摸屏设计。
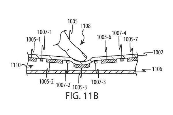
在这个专利中,我们可以清晰的看到Macbook的键盘进行了具有触觉反馈功能的设计改造,看上去键盘变成了一款光滑的触控屏,而实际上随着用户的每次敲击,键盘都会变形向下凹陷,因此看上去又像是传统的打字键盘,因此它显得非常实用,这个功能很大程度上都是利用键盘屏幕下方的触觉制动器来实现的,毫无疑问,这种内嵌触觉反馈系统屏幕键盘设计给MacBook增添了不少光彩,不过这还不是关键,据专利介绍,这些触觉感知反馈空间将会自动根据用户的操作和按键点调整键盘位置和序列,因此用户不再需要对准固定的按键排列顺序就可以进行实际操作。
相比传统的打字键盘,这种触摸屏键盘将会更符合人体工程学的设计布局,你可以进行任意切换,将通常位于笔记本下方的触摸板移动到键盘中心或其他的地方,而且还可以将整个键盘屏幕当作一块整体来使用,按下暂停按钮等。
这样的设计方式将会对于图形设计师,音乐家和软件工程师提供更方便的帮助,专利中明显而详细的解释了关于该触摸屏键盘的工作原理以及可行性设计思路,不过这也并不苹果首次提出类似的专利设计方案了,之前也有许多的专利图暗示过我们苹果正在研发同一种触摸屏键盘或者双屏MacBook,只是这次新专利的出现让我们对苹果设计思路有了更清晰的认识,此外,这在未来很有可能得到苹果的产品线扩展,比如再研发一款适用于iPad Pro的触摸屏键盘,让和苹果的iPad产品进行兼容使用,这对于iPad产品而言又是一种新的发展思路。













闽公网安备 35020302000061号