三星酷专利:巨大显示屏像飞毯在空中飞
2018-02-24 19:34:50 来源:网络整理 作者:王振洲
腾讯科技讯 在阿拉伯神话中,有一个神奇的飞毯能够把主人送到任何地方。据外媒最新消息,韩国三星电子获得了一个新专利,一个巨大的显示屏能够像飞毯一样在空中飞行,定位,未来将有着巨大的用途。
据Engadget等科技媒体报道,三星电子的这一专利申请于2016年,近日正式被美国专利商标局授予了专利。
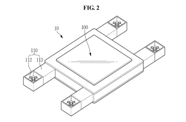
三星的专利名为“飞行的显示设备”。简而言之,这就是一个能够像无人机一样在空中飞行的巨大显示屏幕。
这种飞行屏幕有着巨大的用途,比如可以在特定的场合固定在空中某个位置,播出广告。或是提供现场直播、播放网络视频等。
在体育比赛或是户外音乐会等场合,这种随时移动的巨大屏幕也能够给位置不佳的观众传递更加清楚的演出或比赛画面。
三星在专利文件中提到,和无人机类似,这种飞行屏幕将由四个旋翼提供飞行动力。 另外将配置各种传感器和摄像头,能够识别空中的障碍物。
如此巨大的屏幕,用户如何进行操控呢? 三星电子也将提供各种先进的超控模式,比如语音识别操控,飞行显示器甚至可以识别某个用户挥舞的手势、身体动作,甚至是眼球的状态。
三星电子在设备操控方面进行了长期的研究,若干年前,三星就在高端手机中配置了眼球操控的酷功能,比如如果双手沾水,用户只需要用眼球的运动来控制屏幕或手机。不过这一功能实用性不佳,最后并未在手机行业引发更多的效仿。
三星电子是全世界最大的显示面板厂商,该公司申请上述的专利,其实并不出乎意料。三星拥有大量的显示面板先进技术,比如在行业内第一次在手机中使用了曲面屏,去年,苹果手机开始使用有机屏(OLED),而三星目前是全世界唯一的大规模有机屏供应商。
过去三星也利用了显示面板的创新,推出了许多新产品,比如卷曲式显示屏或电视机,透明显示屏等。
不过三星电子此次申请的仅仅是专利,是否会把专利变成实际的产品,或是何时把产品推向市场,尚不得而知。(综合/晨曦)













闽公网安备 35020302000061号